Tikalon Header

Amorphous Ice

March 27, 2023

I spent most of my career at a major aerospace company, and several members of our materials science team had a background in amorphous metals. Thermodynamics will produce an equilibrium mix of phases in an alloy, but only if that alloy is annealed for long periods to allow the atoms to diffuse to conform to the equilibrium state. If you quench your alloy without an anneal, a non-equilibrium state will be locked-in. This idea was taken to an extreme in the creation ofamorphous metals with desirable physical properties by a technique known as melt spinning.

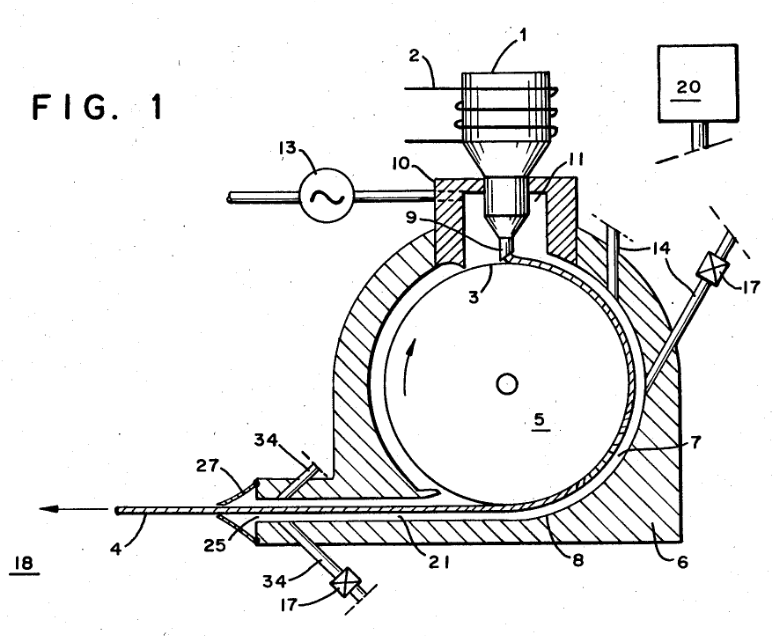
Fig. 1 of US patent no. 4,592,411, 'Method of and apparatus for continuously casting metal filament in a vacuum,' by John R. Bedell and Howard H. Liebermann, June 3, 1986.

Fig. 1 of US Patent no. 4,592,411, "Method of and apparatus for continuously casting metal filament in a vacuum," by John R. Bedell and Howard H. Liebermann, June 3, 1986.

Molten metal in a crucible is induction heated and gravity fed through a nozzle onto a rapidly rotating copper flywheel.

The high thermal conductivity of copper keeps the surface of the flywheel close to room temperature. As a result, the liquid metal is very quickly solidified into an amorphous metal ribbon.

(Via Google Patents.[1] Click for larger image.)


Another method for creation of amorphous metals is mechanical alloying.[2] This is accomplished by using a high speed ball mill to repeatedly pulverize and cold weld elemental or pre-alloyed powders. Such mechanical alloying was initially developed, not for the creation of amorphous metals, but for creation of advanced ​nickel-based and iron-based superalloys for turbine engine blades. The powders can then be made into billets or near-net-shape parts by hot isostatic pressing.

This same ball-milling approach was used by a research team from the University College London (London, UK) and the University of Cambridge (Cambridge, UK) to create an amorphous phase of ice.[3-6] While ball-milling is regularly used to make amorphous materials, it's never been applied to ice.[4] This new phase of water could assist in explaining the strange properties of liquid water.[5]

As I wrote in an earlier article (Ice XVIII, June 24, 2019), there are many phases of water. The solid forms of water include Ice Ih, the ubiquitous hexagonal crystalline form of ice that we see on our automobile windshields; Ice Ic, a form of ice in which the oxygen atoms are arranged in the diamond cubic structure; ice II, a rhombohedral crystalline form of ice; ice III, a tetragonal crystalline ice that's denser than water; ice IV, a metastable rhombohedral phase of ice; and, ice V, a monoclinic crystalline phase of ice.

There are also ice VI, a tetragonal crystalline phase of ice; ice VII, a cubic phase of ice; ice VIII a version of ice VII with a more orderly atomic arrangement, ice IX, a tetragonal phase of ice; ice X, a phase of ice that forms at about 70 GPa; ice XI, an orthorhombic crystalline form of ice that's the most stable configuration of ice Ih; ice XII, a tetragonal, metastable, dense crystalline phase of ice that's about 1.3 times denser than water; ice XIII, a monoclinic crystalline phase of ice; ice XIV, an orthorhombic crystalline phase of ice; Ice XV, a phase of ice VI in which the hydrogen nuclei are well ordered; and, ice XVI, the ice having the least density.

Says senior author of the amorphous ice paper, Christoph Salzmann, a professor of chemistry at University College London, "Water is the foundation of all life. Our existence depends on it, we launch space missions searching for it, yet from a scientific point of view it is poorly understood."[5] Water has many strange properties, the most significant of which is that it's most dense at 4°C and it's less dense when it's frozen.[5-6] As a consequence, ice floats on water, and this property must have had a significant affect on life on Earth. compression of water becomes easier the more it is compressed, a phenomenon contrary to that for most other substances.[5]

Water can also become greatly supercooled; that is, it will exist as a liquid many tens of degrees Celsius below its freezing point.[6] In this supercooled state, liquid water might exist in two different phases, a high-density liquid and a low-density liquid.[5-6] Low density amorphous ice was discovered in the 1930s in an experiment in which water vapor was condensed onto a surface at -110 degrees Celsius.[5] High density amorphous ice was discovered in the 1980s in experiments in which ordinary ice was compressed at a temperature of about -200 degrees Celsius.[5]

Amorphous ice apparatus

Shaken, not stirred. This is the apparatus used to make amorphous ice. (Left image, created from data in a University College London image using Inkscape and a Wikimedia Commons image of a steel ball. Right image, a University College London image by Christoph Salzmann.Click for larger image.)


Liquid water has a density between that of low-density and high-density amorphous ice.[3] The research team showed that ball milling ice-Ih, ordinary ice, at low temperature produces a medium-density amorphous ice (MDA) within this density gap.[3-4] This amorphous ice looks like a fine white powder.[5] MDA might be the true glassy state of liquid water.[3] The ball-milling process involved shaking ice and steel balls in a -200 degrees Celsius container.[4-5] As lead author Alexander Rosu-Finsen, who did the experiments while at University College London, states,
"We shook the ice like crazy for a long time and destroyed the crystal structure. Rather than ending up with smaller pieces of ice, we realized that we had come up with an entirely new kind of thing, with some remarkable properties."[5]

Verification of this new amorphous ice was done by multiple analytical techniques. These were a density measurement using buoyancy in liquid nitrogen, X-ray diffraction, and Raman spectroscopy.[5] One remarkable property of medium-density amorphous ice is that there's a sharp increase of its recrystallization enthalpy when it's compressed at low temperatures.[3] Calorimetry showed that the medium-density amorphous ice recrystallized at warmer temperatures releases an extraordinary amount of heat.[4]

The research team was able to create a computer simulation of the ball-milling process that created the amorphous ice. They mimicked ball-milling using repeated random shearing of crystalline ice.[4] Said co-author Michael Davies, who did the computer simulation, "We found remarkable similarities between MDA and liquid water."[4]

Amorphous ice is common in space, but it would occur only in the cold upper reaches of Earth's atmosphere.[4-5] In the cold of space, there's not enough thermal energy for the molecules of water to rearrange themselves into a crystal.[5] Medium-density amorphous ice may exist inside ice moons of Jupiter and Saturn, since tidal forces will exert similar shear stress on ordinary ice as that created by ball milling.[4-5] The large recrystallization enthalpy of the amorphous ice could trigger icequakes in the thick ice surface of moons such as Ganymede.[5] Funding for this research was provided by the European Research Council and the Engineering and Physical Sciences Research Council.[3]

Europa, a moon of Jupiter

Europa, a moon of Jupiter.

Europa is the sixth-closest to the planet of the known moons of Jupiter, and the sixth-largest moon in the Solar System.

Europa's icy crust has a high light reflectivity, with an albedo of 0.64. Its surface appears to be active, which is indicative of the tidal forces caused by Jupiter.

(Wikimedia Commons image by NASA/JPL/DLR. Click for larger image.)


References:

  1. John R. Bedell and Howard H. Liebermann, "Method of and apparatus for continuously casting metal filament in a vacuum," US patent no. 4,592,411 (June 3, 1986).
  2. Mechanical Alloying, University of Cambridge.
  3. Alexander Rosu-Finsen, Michael B. Davies, Alfred Amon, Han Wu, Andrea Sella, Angelos Michaelides, Yusuf Hamied, and Christoph G. Salzmann, "Medium-density amorphous ice," Science, vol. 379, no. 6631 (February 2, 2023), pp. 474-478, DOI: 10.1126/science.abq2105.
  4. New form of ice is like a snapshot of liquid water, University of Cambridge Press Release, February 2, 2023.
  5. Keith Cowing, "Discovery Of Amorphous Ice May Change Our Understanding Of Water," University College London Press Release, February 2, 2023.
  6. Emily Conover, "Water is weird. A new type of ice could help us understand why," Science News, February 2, 2023.